• Snabba leveranser
  • Teknisk Support
  • Brett Sortiment
Favoriter Registrera kundkonto Logga In Kontakta oss
P
M
K
N
S

WIDIA

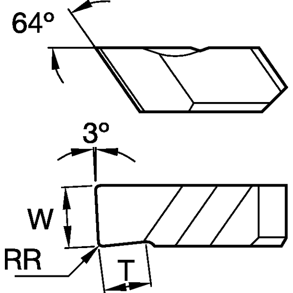
Artikelnr: NG1094LTN6025

TopGroove Insert
EAN-kod:: 4021169725197
Antal i förpackning: 10 st
Logga in för pris

Har du inte redan ett konto? Ansök om kundkonto