• Snabba leveranser
  • Teknisk Support
  • Brett Sortiment
Favoriter Registrera kundkonto Logga In Kontakta oss
K

Vargus

Artikelnr: VT-M5x0.8-ST-6HX-DIN371-VHC

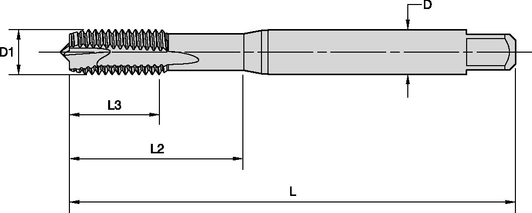
TAPP M5 X 0.8 RAK
Logga in för pris

Har du inte redan ett konto? Ansök om kundkonto

  • Beskrivning
  • Specifikation
    Applikation Gänga
    Gängformstandard ISO METRISK GROV
    För inv./utv. gänga Invändiga gängor
    Typ Skärande gängtapp
    Tappdesign Rak spånkanal
    Gängfastyp Form B (3,5-5,5 Stigningar)
    Gängbeteckning M5 X 0.8
    Användningsområde Bottenhål och genomgående hål
    Toleransklass 6H/ISO 2/2B (​Normal passning)
    Gängtappstandard DIN 371
    För gängmetod Synkron gängcykel (Stum hållare eller mikroflyt)
    Stigning, P 0.8 MM
    Diameter, D1 5
    Diameter, D 6
    Största gängdjup, RATIO 2,5 x D
    Antal skär, Z 3
    Rek. borrdiameter, Ø 4.2
    Längd, L (OAL) 70
    Längd, L2 25
    Längd, L3 16
    Fyrkant, S10 4.9
    Rotationsriktning Höger
    Sort VHC
    Beläggningsmetod PVD
    Beläggning TICN
    Skärmaterial HSS-E
    Invändig kylning/ Kylkanal Nej
    Beställningsnummer 170-00003