• Snabba leveranser
  • Teknisk Support
  • Brett Sortiment
Favoriter Registrera kundkonto Logga In Kontakta oss
P
M
K
N
S

Kennametal

Artikelnr: ND3040RKC5025

Skär V-profil API UTV/INV
Antal i förpackning: 5 st
Logga in för pris

Har du inte redan ett konto? Ansök om kundkonto

  • Beskrivning
  • Specifikation
    Gängformstandard API
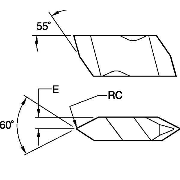
    Profilvinkel 60°
    Stigning UTV, P 5 TPI
    Stigning INV, P 5 TPI
    Applikation Ut- och invändig gängning
    Skärtyp V-profil
    Höger/vänster R - Right
    Längd, E/e/Y 2.0830
    Radie, RC/r 0.4450
    Format, skär N..3..R..
    Sort KC5025
    Sort, beskrivning Universell sort för generell svarvning i nära alla material. För moderat skärhastighet, med hög eggstyrka för viss intermittens.
    ISO-område - applikation P20-30/ M20-30/ K20-30/ N20-30 / S20-30
    Beläggningsmetod PVD
    Beläggning AlTiN
    Skärmaterial Hårdmetall
    Direktpressat / precisionsslipat Precisionsslipat
    Enkelsidigt/dubbelsidigt Enkelsidigt
    Antal skäreggar 2 st
    Produktfamilj TopNotch Threading
    Artikelnummer ND3040RKC5025
    Beställningsnummer 1799507