• Snabba leveranser
  • Teknisk Support
  • Brett Sortiment
Favoriter Registrera kundkonto Logga In Kontakta oss
P
M
K
N
S

Kennametal

Artikelnr: NTC3MR150EKC5025

Skär P=1,50 MM ISO M UTV
Antal i förpackning: 5 st
Logga in för pris

Har du inte redan ett konto? Ansök om kundkonto

  • Beskrivning
  • Specifikation
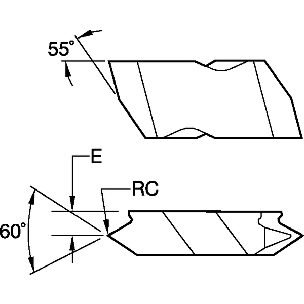
    Gängformstandard ISO METRISK
    Profilvinkel 60°
    Stigning UTV, P 1.50 MM
    Applikation Utvändig gängning
    Skärtyp Fullprofil
    Höger/vänster R - Right
    Längd, E/e/Y 3.6830
    Radie, RC/r 0.2020
    Format, skär N..3..R..
    Sort KC5025
    Sort, beskrivning Universell sort för generell svarvning i nära alla material. För moderat skärhastighet, med hög eggstyrka för viss intermittens.
    ISO-område - applikation P20-30/ M20-30/ K20-30/ N20-30 / S20-30
    Beläggningsmetod PVD
    Beläggning AlTiN
    Skärmaterial Hårdmetall
    Direktpressat / precisionsslipat Precisionsslipat
    Enkelsidigt/dubbelsidigt Enkelsidigt
    Antal skäreggar 2 st
    Produktfamilj TopNotch Threading
    Artikelnummer NTC3MR150EKC5025
    Beställningsnummer 1803285