• Snabba leveranser
  • Teknisk Support
  • Brett Sortiment
Favoriter Registrera kundkonto Logga In Kontakta oss
P
M
K
N
S

Kennametal

Artikelnr: KDR50Z06S22RN10

RODEKA IC10 D=50 Z=6 SHELL MI
EAN-kod:: 4050839298419
Logga in för pris

Har du inte redan ett konto? Ansök om kundkonto

  • Beskrivning
  • Specifikation
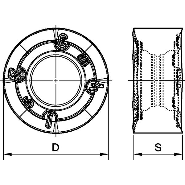
    Nominell diameter, Ø 50
    Diameter, D1 40
    Max diameter, D1 max 50
    Max skärdjup, Ap1 max 5
    Ställvinkel, Kr Radie
    Antal skär, Z 6
    Antal effektiva skär, ZU 6
    Valsfräs (ZU<Z) Nej
    Diameter, D 22
    Diameter, D2 46.52
    Diameter, D6 42
    Längd, L 40
    Max varvtal, max RPM 38600
    Skärformat (Produktfamilj) RN..J10T3M0.. (Rodeka Series)
    Max rampvinkel (°) 0.32
    Rotationsriktning R - Höger
    Skaft/Adapter, typ Fräsdorn
    Invändig kylning/ Kylkanal Ja
    Produktfamilj Rodeka Series
    Artikelnummer KDR50Z06S22RN10
    Beställningsnummer 5152688