• Snabba leveranser
  • Teknisk Support
  • Brett Sortiment
Favoriter Registrera kundkonto Logga In Kontakta oss

Kennametal

Artikelnr: PCKNL3225P16

P Clamping Holder W25.0mm L17
Logga in för pris

Har du inte redan ett konto? Ansök om kundkonto

  • Beskrivning
  • Specifikation
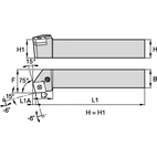
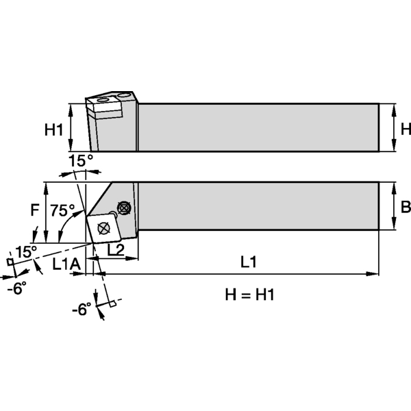
    Utförande/fattning L - Left
    Ställvinkel, Kr 75
    Låsning av skär, design P - Hävarm
    Skafttyp/Adapter Fyrkantsskaft
    Höjd, H 32
    Bredd, B 25
    Höjd, H1 32
    Längd, F 32
    Längd, L 173.8
    Längd, L1 170
    Längd, L1A 3.8
    Längd, L1S 173.8
    Längd, LH 30
    Vinkel, γO° -6°
    Format, skär CN..1606..
    Invändig kylning/ Kylkanal NEJ
    Skärskruv, nyckelgrepp Torx 15 Plus
    Produktfamilj Kenlever™ • P-Style Clamping • For Negative Style Inserts
    Artikelnummer PCKNL3225P16
    Beställningsnummer 1244777