• Snabba leveranser
  • Teknisk Support
  • Brett Sortiment
Favoriter Registrera kundkonto Logga In Kontakta oss

Kennametal

Artikelnr: KM63TSMDMNL1506115

KM63UT CENTERLINE TOOL CVW1
EAN-kod:: 4059782072107
Logga in för pris

Har du inte redan ett konto? Ansök om kundkonto

  • Beskrivning
  • Specifikation
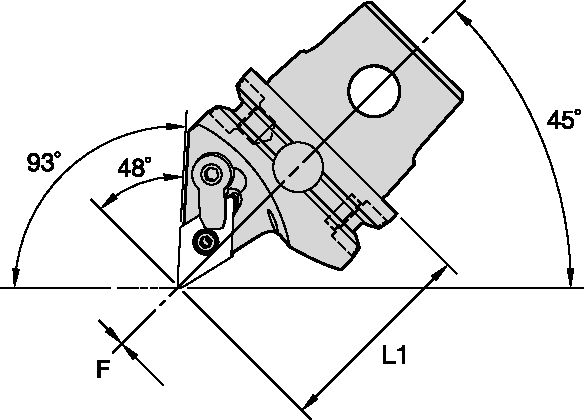
    Utförande/fattning L - Left
    Ställvinkel, Kr 48
    Minsta håldiameter, D min 100
    Låsning av skär, design M - Excenter och klamp (Kenloc)
    Skafttyp/Adapter KM63TS
    Diameter, D 63
    Höjd, H1 0
    Längd, F 0
    Längd, L 155
    Längd, L1 115
    Längd, L4 115
    Vinkel, γO° -5°
    Format, skär DN..1506..
    Invändig kylning/ Kylkanal JA
    Skärskruv, nyckelgrepp Insex 3mm
    Produktfamilj Kenloc™ • M-Style Clamping • For Negative Style Inserts
    Artikelnummer KM63TSMDMNL1506115
    Beställningsnummer 3487476