• Snabba leveranser
  • Teknisk Support
  • Brett Sortiment
Favoriter Registrera kundkonto Logga In Kontakta oss
P
M
K
N
S

Kennametal

Artikelnr: A4G0255M2BU02GMNKC5025

A4 Grooving Insert
Antal i förpackning: 10 st
Logga in för pris

Har du inte redan ett konto? Ansök om kundkonto

  • Beskrivning
  • Specifikation
    Applikationsområde Generell till grov bearbetning
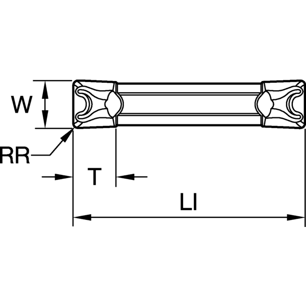
    Radie, RR 0.2
    Radie, RL 0.2
    Längd, T/t 2
    Längd, LI 20.1
    Bredd, W 2.62
    Tolerans, W +0.15/0
    Utförande/fattning N - Neutral
    Skärlägets storlek, SSC 2B
    Format, skär A4..025..
    Geometri GMN
    Wiper NEJ
    Sort KC5025
    Sort, beskrivning Universell sort för generell svarvning i nära alla material. För moderat skärhastighet, med hög eggstyrka för viss intermittens.
    ISO-område - applikation P20-30/ M20-30/ K20-30/ N20-30 / S20-30
    Beläggningsmetod PVD
    Beläggning AlTiN
    Skärmaterial Hårdmetall
    Direktpressat / precisionsslipat Direktpressat
    Enkelsidigt/dubbelsidigt Enkelsidigt med geometri
    Antal skäreggar 2 st
    Produktfamilj A4™ • Double-Ended Cut-Off
    Artikelnummer A4G0255M2BU02GMNKC5025
    Beställningsnummer 2984018